Skip to content

Apple gewinnt Emmy-Award für seinen Weihnachts-Werbespot

Wie jedes Jahr zur Weihnachtszeit hatte Apple auch im vergangenen Jahr einen eigens produzierten Werbespot geschaltet, der die Feiertage zum Thema hatte. Unter dem Titel "Misunderstood" spielte man dabei mit dem immer wieder zu hörenden Vorwurf "Kannst du das Handy nicht mal weglegen" und drehte den Spieß am Ende in einer fast schon rührenden Story um. Statt "sinnlos" mit dem iPhone zu spielen und sich von der Familie abzukapseln produzierte der Sprössling der zu sehenden Familie nämlich einen emotionalen Familienfilm, der hinterher per Apple TV auf den Fernseher gestreamt wird. Der von vielen Seiten gefeierte Werbespot erhielt nun eine Auszeichnung von allerhöchster Stelle. So konnte Apple mit "Misunderstood" einen Emmy-Award in der Kategorie "Outstanding Commercial" abräumen. In der Urteilsbegründung der Jury heißt es, dass der Spot ein herausragendes Beispiel für einen gelungenen Werbespot sei, der den Zuschauer gleichermaßen fesselt und überrascht.



YouTube Direktlink

Apple veröffentlicht sechste Beta von OS X Yosemite

Zwei Wochen nach der Veröffentlichung der letzten Beta-Versionen von iOS 8 und OS X Yosemite stand heute Abend erwartungsgemäß keine neue Beta von iOS 8 (hier wird lediglich noch der GM Build erwartet), aber zumindest eine neue Vorabversion von OS X Yosemite für registrierte Entwickler auf der Agenda. Inzwischen sind breits die ersten Neuerungen und Änderungen durchgesickert. Unter anderem hat Apple dabei in den Systemeinstellungen sämtliche Icons neu gestaltet. Eine starke Ähnlichkeit zu den vorherigen Versionen ist zwar vorhanden, allerdings erscheinen die Icons nun allesamt im Yosemite-typischen Look. Auch der "Nicht stören"-Modus kehrt mit der sechsten Vorabversion in die Mitteilungszentrale zurück. Für MacBooks ändert sich leicht das Symbol der Akkustandsanzeige in der Menüleiste und erneut wurde die Optik der Lautstärke- und Helligkeits-Overlays verändert. Grundsätzlich handelt es sich also um eher minimale optische Veränderungen, sowie Verbesserungen von Stabilität und Leistung. Neu hinzugekommen ist eine handvoll neuer Hintergrundbilder mit Motiven aus dem Yosemite Park, die bei Bedarf hier heruntergladen werden können. (via 9to5Mac)

Die finale Veröffentlichung von OS X Yosemite dürfte auf dem erwarteten Oktober-Event erfolgen.

iPhone 6 mit 1 GB RAM und ohne Saphirglas?

Schenkt man den Gerüchten Glauben, steht uns in gut drei Wochen das diesjährige iPhone-Event ins Haus und so langsam zeichnet sich ein immer deutlicheres Bild, was uns Apple denn präsentieren wird. Während schon niemand mehr ernsthaft über das Ja und Nein der beiden Displayvarianten in 4,7" und 5,5" diskutiert und auch das Design der neuen Geräte wohl weitestgehend bekannt sein dürfte, geht es inzwischen um die inneren Werte von Apples neuem Smartphone. Auf  einer Schemazeichnung des chinesischen Reparaturspezialisten GeekBar (via MacRumors) taucht nun ein Wert von einem Gigabyte für Speicher auf. Sollte es sich dabei um die Angabe des Arbeitsspeichers handeln, würde das iPhone 6 dieselbe Menge RAM aufweisen wie das iPhone 5, iPhone 5c und iPhone 5s. Allerdings ist unklar, ob es sich bei der Angabe auf dem Schema tatsächlich um den Arbeitsspeicher oder doch um den Datenspeicher des Geräts handelt. Ebenso unklar ist, ob die Zeichnung für das 4,7"- oder das 5,5"-Modell dient. Doch selbst wenn Apple weiterhin auf ein GB setzen sollte, während die Android-Konkurrenz inzwischen bis zu drei GB für den Arbeitsspeicher einsetzt, müssen hiermit im Vergleich keine Performanceeinbußen einhergehen. Apples enge Verzahnung von Hard- und Software, inkl. eines extrem genügsamen Betriebbsystems sorgen auch mit einem GB RAM für zumeist deutlich bessere Leistungswerte im Vergleich zu Konkurrenz-Geräten. Hinzu kommt, dass weniger Arbeitsspeicher auch weniger Strom verbraucht. Apple hat dem Wert des Arbeitsspeichers in der Bewerbung seiner Geräte nie eine Bedeutung beigemessen und dennoch hochperformante Geräte abgeliefert. Eine Denkweise, dem in Sachen iOS-Geräte auch der Verbraucher folgen sollte.

Unterdessen erwartet der J.P. Morgan Analyst Rod Hall (via AppleInsider) in diesem Jahr noch keine vollständigen Saphirglasdisplays im iPhone. Während klar sei, dass dies irgendwann geschehen werde, soll es aktuell noch nicht so weit sein. Um die aktuell noch recht hohen Produktionskosten zu drücken, soll stattdessen ein hybrider Ansatz mit einer Saphirglasbeschichtung zum Einsatz kommen, ähnlich, wie sie sich bereits in einem Video gezeigt habe. Die notwendige Technologie habe sich Apples Fertigungspartner GT Advanced Technologies durch die Übernahme des Unternehmens Twin Creeks gesichert, welches auf solche Verfahren spezialisiert ist. Derlei Aussagen von Analysten sind letzten Endes jedoch immer mit Vorsicht zu genießen und vollkommene Sicherheit werden wir erst haben, wenn Apple das iPhone 6 dann tatsächlich präsentiert.

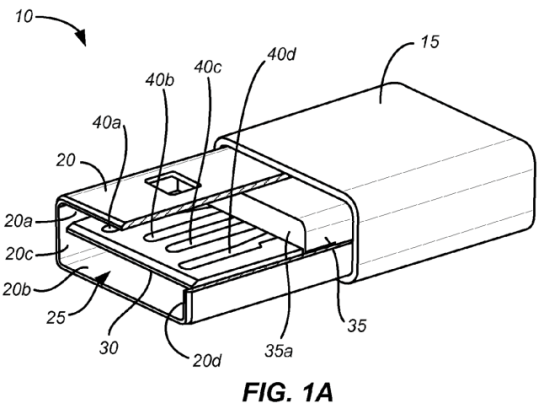
Nächstes Lightning-Kabel offenbar mit modifiziertem USB-Stecker

In den vergangenen Tagen sind verschiedentlich Fotos im Internet aufgetaucht, die einen modifizierten USB-A Stecker zeigen, der angeblich gemeinsam mit Apples diesjähriger Generation von iOS-Geräten ausgeliefert werden soll. Das besondere an diesem Stecker ist, dass er sich, ähnlich wie Apples Lightning-Stecker, in beiden Ausrichtungen in eine herkömmliche USB-Buchse stecken lässt. Die Gerüchte kommen damit passend zu dem gerade erst final verabschiedeten "Type C" USB 3.0 Standard, der ebenfalls über die Möglichkeit verfügt, in beiden Ausrichtungen in eine passende Buchse gesteckt zu werden. Dies ist natürlich ein durchaus beachtlicher Komfortgewinn, wenn man bedenkt, was für eine Fummelei es ist, einen herkömmlichen USB-Stecker mehr oder weniger "blind" in eine etwas versteckte Buchse zu verfrachten.


Während die Herkunft der Bilder und damit auch deren Authentizität nicht abschließend geklärt werden kann, hat Apple bereits 2013 einen Patentantrag gestellt, der genau diese Modifikation beschreibt und dessen Schemazeichnung starke Ähnlichkeit mit den nun auf den Bildern zu sehenden Anschlüssen besitzt.


Die Chancen stehen also nicht schlecht, dass wir in diesem Jahr tatsächlich ein Lightning-Kabel mit einem wie oben zu sehen modifizierten USB-Anschluss in die Finger bekommen. Damit einhergehend dürfte sich auch das Innenleben des Kabels ein wenig verändern. So dürfte Apple mit dem neuen Kabel dann auch USB 3.0 unterstützen. Zudem gibt es spätestens seit der Beats-Übernahme Gerüchte, wonach Apple künftig den Lightning-Anschluss auch für die Übertragung von HD-Audio nutzen und entsprechende Kopfhörer anbieten wird. (via 9to5Mac)