Schon seit jeher pflegt Apple eine besondere Beziehung zum Bildungssektor. Und so verwundert es nur wenig, dass das Unternehmen eine neue Reihe von Artikeln in seinem Newsroom gestartet hat, in der man Lehrer und Schüler vorstellt, die sich druch einen besonders innovativen Einsatz von Technologie in der Lehre hervorgetan haben. Den Auftakt macht dabei die Huntington Beach Academy for the Performing Arts (APA) in Kalifornien, an der man eine jährlich stattfindende, von Studenten erstellte Sendung namens "Playlist" ins Leben gerufen hat. Dies geschieht unter der Verwendung von Apple-Hard- und Software, wie Final Cut Pro oder Logic Pro X auf dem Mac. Selbstverständlich werden die Studierenden hierzu zuvor speziell im Umgang mit der Technologie ausgebildet.
All dies findet im Rahmen des Standard-Curriculums statt, welches an der APA für Studierende im Studiengang "Music, Media, and Entertainment Technology" gilt. Dabei vertragen sich die Inhalte hervorragend mit Apples Ansichten zu Kunst, Musik und Co, wie auch die Studiengantsverantwortliche Jamie Knight betont:.
"We don't just focus on the technology. It's that performing arts experience that gives them leadership skills, confidence, team work, all of those soft skills that businesses want. You have to perform to get that, and then when you marry that with the technology and you give the kids the ability to have a real recording studio to work with, they're going to be the next Steven Spielberg, or the next Paul McCartney."
In den kommenden Monaten wird Apple weitere interessante Projekte aus der Bildung vorstellen - auch außerhalb der USA.
In der kommenden Woche steht am 08. März der Internationale Frauentag auf dem Kalender und Apple wird diesen mit verschiedenen Aktionen begleiten. So wird es auch in diesem Jahr zu diesem Anlass wieder eine Challenge auf der Apple Watch geben, bei der man sich Badges und iMessage-Sticker verdienen kann. Hierzu lautet die Aufgabe, am 08. März einen Lauf mit einer Länge von mindestens einer Meile zu absolvieren. Dies kann in Form von schnellem Gehen, Joggen oder im Rollstuhl erledigt werden. Die Entsprechende Benachrichtigung zu der Challenge dürfte in Kürze auf den Apple Watches dieser Welt auftauchen.

Darüber hinaus wird es im März zum Internationalen Frauentag auch spezielle Sessions im Rahmen der "Today at Apple" Veranstaltungsreihe unter dem Titel "Made by Women" in verschiedenen Apple Retail Stores geben. In Europa sind die Stores in London und Paris mit von der Partie. Von deutschen Stores ist in der Ankündigung bislang keine Rede.
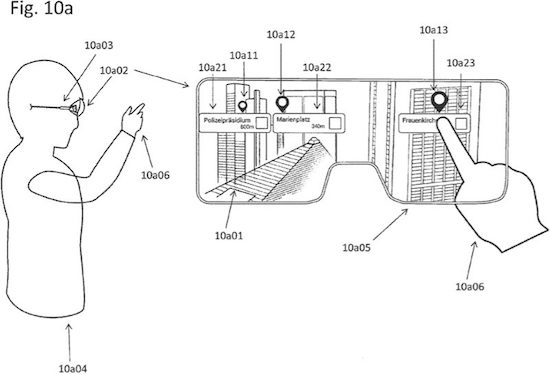
Dass Apple an an einer Augmented Reality Brille arbeitet, wurde in den vergangenen Monaten immer mal wieder kolportiert. In einem nun von den Kollegen von AppleInsider ausgegrabenen Patent beschreibt Apple genau ein solches Produkt und liefert dazu auch gleich noch ein paar spannende Anwendungsfälle. In dem gestern vom U.S. Patent and Trademark Office Apple zugesprochenen Patent beschreibt das Unternehmen "eine Methode, virtuelle POIs in der Realansicht eines Raumes" über die Displays in der Brille darzustellen. Diese präsentieren sich dann quasi als Overlay über der Realität, was dem grundsätzlichen Ansatz von Augmented Reality entspräche. Die Realität würde über Kameras in der Brille erfasst, verarbeitet und mit den Zusatzinformationen gepaart dann auf dem Display angezeigt werden.

Eine Beispielgrafik aus dem Patentantrag zeigt beispielsweise eine Reihe von Gebäuden, die mit einem zusätzlichen Label versehen wurden, welches sie beschreibt. In einem anderen Beispiel werden dann detailliertere Informationen angezeigt. Dies kann sowohl auf der Brille selbst, als auch auf einem verbundenen iPhone gehschehen.

Zu bedenken bleibt auch hier, dass Apple ständig jede Menge Patente einreicht, um sich einfach nur Ideen und Technologien schützen zu lassen. Die allermeisten davon landen jedoch nie in einem echten Produkt. Aus diesem Grunde sollte das neue Patent auch keinesfalls als Bestätigung gesehen werden, dass die Apple-Brille tatsächlich kommt. Es zeigt allerdings sehr wohl, dass sich Apple damit beschäftigt und verschiedene Anwendungsfälle sieht, wo ein solches Gerät zum Einsatz kommen könnte.
Auch heute hat Apple wieder den sogenannten "Movie Mittwoch" ausgerufen. Dabei wird jeden Mittwoch ein ausgewählter Film aus dem iTunes-Sortiment für 24 Stunden zum Sonderpreis von nur € 1,99 in HD-Qualität zum Leihen angeboten. Heute erhält man dabei die warmherzige Winnie-Puuh-Geschichte Christopher Robin mit Ewan McGregor. Nachdem man den Leih-Film geladen hat, kann er innerhalb von 30 Tagen angeschauen werden. Wie immer bei geliehenen Filmen aus dem iTunes Store gilt: Hat man hiermit einmal begonnen, muss man ihn innerhalb von 48 Stunden beenden.

Anfang des Jahres hatte Apple einen Wettbewerb im Rahmen seiner "Shot on iPhone" Kampagne ins Leben gerufen, bei dem alle iPhone-Fotografen in der Zeit vom 22. Januar bis zum 07. Februar ihre mit dem Apple-Smartphone geschossenen Bilder nach Cupertino schicken und an dem Wettbewerb teilnehmen konnten. Nun hat eine Jury die 10 Gewinner gekürt, wie Apple in einer Pressemitteilung berichtet. Dabei handelt es sich um Alex Jiang, Blake Marvin, Elizabeth Scarrott, Andrew Griswold, Bernard Antolin und LieAdi Darmawan aus den USA, Darren Soh aus Singapur, Nikita Yarosh aus Weißrußland und Dina Alfasi aus Israel. Mit Robert Glaser befindet sich schließlich auch noch ein Teilnehmer aus Deutschland unter den Gewinnern, der mit dem unten zu sehenden Foto teilnahm.

Als Geräte kamen bei den Gewinnern verschiedene Geräte vom iPhone 7 bis hin zum iPhone XS Max zum Einsatz. Die BIlder der 10 Gewinner werden demnächst in Apple Stores, auf der Apple Webseite, in sozialen Netzwerken und auf Werbeplakaten von Apple überall auf der Welt zu sehen sein. Alle Gewinnerfotos können in Apples Pressemitteilung eingesehen werden.