Skip to content

Apple erweitert iPhone Trade-In-Programm und bietet Installation von Display Protektoren

Bislang war es so, dass man bei Apples Trade-In-Programm für alte iPhones sein altes Gerät zurückgeben konnte und der Restwert beim Kauf eines neuen iPhone verrechnet wurde. Allerdings galt dieses Angebot nicht für Gerät mit kaputten Displays, Kameralinsen oder mechanischen Knöpfen. Dies soll sich nach Informationen der Kollegen von 9to5Mac allerdings noch in dieser Woche ändern. Die Idee dahinter ist klar. Apple erhofft sich durch das neue Angebot eine größere Anzahl, die auf ein neues iPhone upgraden, statt das alte reparieren zu lassen. Den Quellen der Kollegen zufolge sollen die Beträge die Apple verrechnet dabei bei $ 50,- für ein iPhone 5s, $ 200,- fürr ein iPhone 6 und $ 250,- für ein eingetauschtes iPhone 6 Plus liegen.

Darüber hinaus soll Apple im Rahmen einer weiteren Retail Initiative jedoch auch dafür sorgen wollen, dass die Displays der iPhones gar nicht erst kauptt gehen. Hierzu soll in den Stores künftig auch das Installieren von Display Protektoren angeboten werden. Apple soll dazu unter anderem eine entsprechende Partnerschaft mit dem Zubehörhersteller Belkin eingegangen sein. Dieser soll die Apple Stores dann auch mit entsprechenden Maschinen ausstatten, die die Protektoren anbringen, wie im folgenden Video zu sehen.



YouTube Direktlink

[Gadget-Watch] SoundBuds Sport von Anker nun auch in Deutschland erhältlich

Kopfhörer gehören ohne Zweifel zu den am häufigsten gekaufen Gadgets zum iPhone und iPad. Und dies wird sich vermutlich noch einmal steigern, sollte Apple mit dem iPhone 7 tatsächlich den 3,5mm Klinkenanschluss aus seinem Smartphone verbannen. Von da an heißt es dann vermutlich Lightning oder Bluetooth. In letzterem Fall bietet sich nun eine weitere Alternative an. So hat der äußerst aktive und von mir absolut ztu empfehlender Zubehör-Hersteller Anker seit heute seinen Bluetooth-Sport-Kopfhörer SoundBuds Sport auch in Deutschland im Sortiment. Ausgestattet mit Bluetooth 4.0 sollen die Kopfhörer eine Reichweite von bis zu 20 Metern bieten, und der Akku bis zu acht Stunden durchhalten. Dank Spritzwasser-Zertifizierung IPX4 dürften Sportler aller Bereiche bedient werden. Farblich hat man die Wahl zwischen einer grünen und einer schwarzen Variante. Die beiliegenden Ohrstücken der In-Ear-Hörer kommen in den drei Größen S, M und L.

Die unverbindliche Preisempfehlung der SoundBuds Sport lautet auf € 49,99. Zum Start kann man man die Kopfhörer ab sofort über den folgenden Link zum Preis von € 24,99 bei Amazon bestellen: SoundBuds Sport

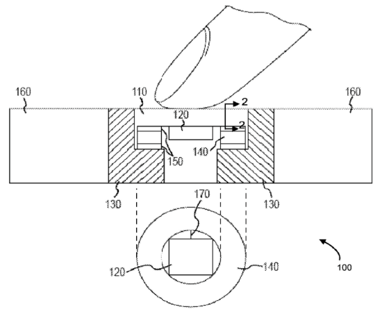
Apple patentiert möglichen "3D-Touch-ID Homebutton"

Bereits seit einiger Zeit halten sich hartnäckig Gerüchte, wonach sich Apple auf kurz oder lang vom charakteristischen mechanischen Homebutton am iPhone verabschieden wird und stattdessen zu einer touchbasierten Lösung greift. Wie sich dies darstellen könnte, zeigt nun ein veröffentlichter Patentantrag mit dem Titel "Force-Sensitive Fingerprint Sensing Input" aus Cupertino. Dank einer Kombination aus Touch ID und 3D Touch könnte man das mechanische Bauteil in Zukunft gegen einen speziellen berührungsempfindlichen Bereich auf dem Display austauschen und dennoch die gewohnte Funktionalität des Homebuttons beibehalten.


Liest man sich den 30 Seiten langen Antrag komplett durch, werden die meisten wohl ob der ganzen technischen Feinheiten und Fachbegriffe kaum verstehen, wie man sich das ganze letzten Endes in einem fertigen Produkt vozustellen hat. Nicht zuletzt aus diesem Grund haben die Kollegen von computerbild.de das nachfolgende Design-Konzept in Auftrag gegeben, welches ein iPhone mit einer möglichen Umsetzung des "3D-Touch-ID Homebutton" zeigt. Spannend!


[Gadget-Watch] AUKEY Powerbank mit Auto-Starthilfe und Notfallhammer

Erst kürzlich hatte ich auf ein Amazon-Tagesangebot hingewiesen, bei dem der Starthilfe-Akku von Anker vergünstigt angeboten wurde. Dieser enthält neben einem gewöhnlichen Zusatzakku für das Smartphone oder Tablet auch eine Starthilfe-Funktion für eine Autobatterie. Da mich hierzu diverse interessierte Mails erreichten, hier noch einmal ein Hinweis auf ein heute seit 07:30 Uhr laufendes Blitzangebot von Amazon. Dort bekommt man eine AUKEY Powerbank mit einer Kapazität von 12.000 mAh, die ebenfalls eine Starthilfe-Funktion für eine Autobatterie enthält und sich zudem in einem Notfallhammer für das Auto versteckt.Der enthaltene 12.000 mAh Lithium-Akku bietet genügend Kapazität, um ein Auto bis zu 20 Mal zu starten. Gedacht ist das Ganze für Fahrzeuge mit 12V-Batterie oder einem Benzinmotor kleiner als 5.000cc. Im Lieferumfang enthalten ist neben dem Akku selbst eine Transporttasche, ein Startkabel, ein 15V Ladegerät, ein 15V Kfz-Ladegerät für den Akku, ein Micro-USB-Ladekabel und die Bedienungsanleitung. An der Stirnseite des Notfallhammers findet man zudem eine LED-Taschenlampe.

Ein wirklich rundum praktisches Gadget, welches heute seit 07:30 Uhr für begrenzte Zeit und zu begrenzter Stückzahl bei Amazon zum Sonderpreis von € 54,99 (normalerweise €64 ,99) über den folgenden Link bestellt werden kann: Aukey PB-C4

Und wem das zu viel ist, oder wenn man den Nothammer nicht braucht, gibt es bei Amazon auch die "normalere" Variante heute im Blitzangebot. Ebenfalls seit 07:30 Uhr bekommtn man dabei eine AUKEY Powerbank mit 12.000 mAh Kapazität und einer integrierten Auto Starthilfe mit 400A Spitzenstrom ebenfalls zum Sonderpreis. Im Blitzangebot kann der AUKEY PB-C2 über den folgenden Link zum kurzfristigen Sonderpreis von € 50,- (regulär € 59,99) erworben werden: AUKEY PB-C2


Sonys Dual-Lens Kamera soll 2016 von großen Smartphone-Herstellern genutzt werden

Das Thema "Dual-Lens Kamera" ist und bleibt ein ganz heißes, wenn es um Gerüchte rund um das für den Herbst erwartete iPhone 7 geht. Stattet Apple alle neuen Modelle hiermit aus? Bekommt nur das iPhone 7 Plus die Premium-Kamera? Oder gibt es gar ein spezielles Modell, welches dieses Alleinstellungsmerkmal besitzt? Wie es auch immer kommen wird, die Gerüchteküche brodelt. Zusätzlich angefacht wird dies durch Sony, dem Hersteller, der für zahlreiche Kamerasensoren in Apples iOS-Geräten verantwortlich ist. Im hauseigenen Xperiablog gab man nun zu Protokoll, dass Sonys Dual-Lens Kamera Plattform im aktuellen Jahr in Geräten von "major smartphone players" verbaut werden wird. Das Herstellen einer Verbindung zu den Apple-Gerüchten ist da beinahe schon naheliegend. Während die Kerntechnologie hinter der Kamera wohl aus der Übernahme des israelischen Unternehmens LinX im vergangenen Jahr hervorgehen dürfte, wird Apple sehr wahrscheinlich auch weiterhin Komponenten von anderen Herstellern verbauen. Wie dem auch immer sei, es sieht ganz danach aus, als würden wir im Herbst erstmals ein iPhone mit einer Dual-Lens Kamera zu sehen bekommen.