Apple nennt die fünf meistverkauften Weihnachtsfilme über iTunes
In zwei Tagen ist Heiligabend. Schaut man zu diesem Anlass einmal in die Fernsehzeitung, findet man dort traditionell jede Menge Filme, die zu dieser Zeit des Jahres irgendwie schon dazu gehört. Und auch Apple hat ja bereits seit Anfang des Monats seinen iTunes Film-Adventskalender im Angebot. Per Pressemitteilung hat Apple nun die fünf am häufigsten über iTunes verkauften Weihnachtsfilme aller Zeiten bekanntgegeben. Darunter finden sich natürlich einige echte Klassiker, aber auch eine Überraschung auf dem ersten Platz. Zu meinen absoluten Lieblingsfilmen zu Weihnachten zählen auf jeden Fall Platz 2 Schöne Bescherung mit Chevy Chase (€ 5,99 bei iTunes) und Platz 3 Kevin allein zu Haus (€ 9,99 bei iTunes) aber auch der nicht gelistete Charlie und die Schokoladenfabrik (€ 5,99 bei iTunes). Wer sich also nicht an die vom Fernsehen vorgegebenen Spielzeiten für die Filme binden möchte, kann sich diese auch auf das heimische Apple TV, den Mac oder das iPhone oder iPad streamen Falls ihr also noch etwas Input für das Unterhaltungsprogramm über die Feiertage braucht, hier gibt’s acht Stunden thematisch passende Unterhaltung.
- Buddy der Weihnachtself mit Will Ferrell (€ 5,99 bei iTunes)
- Schöne Bescherung mit Chevy Chase (€ 5,99 bei iTunes)
- Der Grinch, mit Jim Carrey (€ 5,99 bei iTunes)
- Kevin allein zu Haus mit Macauly Culkin (€ 9,99 bei iTunes)
- Polarexpress mit Tom Hanks (€ 5,99 bei iTunes)
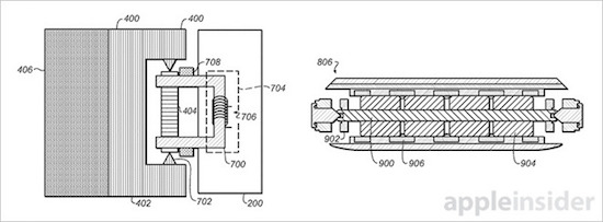
Patent beschreibt Verlagerung des haptischen Feedbacks der Apple Watch in das Armband
Bei allen Produktentwicklungen aus Cupertino ist in den vergangenen Jahren ein gemeinsamer Nenner zu erkennen: Das Streben danach, diese möglichst schlank zu gestalten. Dieser Schlankheitswahn, der hier und da auch schonmal zu diskussiosnwürdigen Designentscheidungen geführt hat, hat sich somit ein Stück weit auch zu einem Markenzeichen Apples entwickelt und soll künftig offenbar auch bei der Apple Watch zu Veränderungen führen. Dies legt zumindest ein Patent nahe, welches die Kollegen von AppleInsider ausgegraben haben. Dankenswerterweise soll die neue Schlankheit bei der Apple Watch dabei nicht durch eine Verkleinerung des Akkus oder sonstiger Komponenten erzielt werden, sondern durch eine Verlagerung des haptischen Feedbacks in das Armband. Genau dies beschreibt Apple nämlich in seinem Patent mit dem Namen "Band attachment mechanism with haptic response".

Durch die Verlagerung des Feedbacks in das Armband könnte Apple zudem das Nutzererlebnis verbessern, da sich auf diese Weise vollkommen neue Feedbacks umsetzen ließen, die zudem an verschiedenen Stellen des Armbands und damit des Handgelenks auftreten können. Fraglich ist allerdings, wie sich dies mit den Armbändern von Drittherstellern vertragen würde. Sollte man diese verwenden und haben diese keine Anbindung an die Taptic Engine integriert, wäre ein haptisches Feedback de facto nicht mehr vorhanden.
2017er Jubiläums-iPhone hört anscheinend auf den internen Namen "Ferrari"
Auch kurz vor Weihnachten geht es noch weiter mit den Gerüchten rund um das 2017er Jubiläums-iPhone. So wollen die chinesischen Kollegen von cnBeta (Google-Übersetzer) interne Dokumente in die Finger bekommen haben, auf denen die drei von Apple für kommendes Jahr geplanten iPhones zu sehen und beschrieben sei sollen. Quelle dieser Dokumente ist mal wieder das chinesische Twitter-Pendant Sina Weibo. Die drai dabei genannten Modelle hören auf die Produktbezeichnungen D20, D21 und D22, wobei das High-End-Modell zusätzlich mit dem treffenden Codenamen "Ferrari" benannt wird. Dieses soll dann die bislang gehandelten neuen Funktionen, wie ein gebogenes 5,1" oder 5,2" AMOLED-Display, einen darin integrierten, virtuellen Home-Button samt Touch ID, kabelloses Laden und ein Glasgehäuse auf sich vereinen.
Doch nicht nur äußerlich soll sich an dem neuen Modell etwas ändern. Sollten die Dokumente authentisch sein, wird Apple auch beim inneren Aufbau kräftig Hand anlegen. So soll das bislang aus einem Bauteil bestehende Logicboard in zwei über ein Kabel miteinnander verbundene Einheiten aufgeteilt werden. Dabei würde dann die eine Einheit Bauteile wie den A11-Chip und den NAND-Flashspeicher enthalten, während die andere die Chips für WLAN, Bluetooth und Mobilfunk enthält. Die Abschirmung dieser Komponenten voneinander war in der Vergangenheit immer mal wieder ein Problem. Der SIM-Kartenslot soll zudem an die Unterkante des Gerätes wandern.
Letzte Gerüchte widersprachen sich teilweise bei Apples Plänen für die kommenden iPhones. So soll nur eines der neuen Geräte, nämlich das oben gennante "Ferrari"-Modell die bereits seit einiger Zeit gehandelten Neuerungen mitbringen, während die anderen beiden Modelle dem Zyklus entsprechende s-Updates werden sollen, die dann vor allem der gewohnten Produktpflege von iPhone 7 und iPhone 7 Plus entsprechen würden und entsprechend die Namen iPhone 7s und iPhone 7s Plus tragen sollen.
[Gadget-Watch] OlloClip mit drei neuen Objektiv-Sets für das iPhone 7 und das iPhone 7 Plus
Eine der Komponenten, die beim iPhone inzwischen mit jeder neuen Generation deutlich aufgewertet wird, ist die rückwärtige Kamera. Diese ist inzwischen so gut, dass ich in der Regel sogar inzwischen darauf verzichte, noch eine Kompaktkamera zu Events oder in den Urlaub mitzunehmen. Klar reicht die Qualität nicht an die einer Spiegelreflexkamera heran, für den Gelegenheits-Schnappschuss oder das eine oder andere nette Urlaubsbild ist sie allerdings inzwischen mehr als ausreichend. Möchte man diese noch ein wenig aufwerten, hat sich inzwischen ebenfalls ein kompletter Gadget-Markt entwickelt, an deren Spitze bereits seit einigen Jahren der Hersteller OlloClip steht. Dieser hat nun drei neue Objektiv-Sets für das iPhone 7 und das iPhone 7 Plus auf den Markt gebracht, die sich wie gewohnt auf das Telefon stecken lassen und durch die verschiedenen Objektive interessante Effekte ermöglichen.
Bei den neuen Sets handelt es sich um das "Core Lens Set" (€ 119,99 bei Amazon), welches ein Fisheye-Objektiv mit fast 180° Sichtfeld, ein Super-Wide-Objektiv mit 4 Elementen und einem Sichtfeld von 120° und ein Macro-Objektiv mit 15-facher Vergrößerung enthält. Das "Active Lens Set" (€ 82,95 bei Amazon) enthält ein Telephoto-Objektiv mit 2-fachem optischen Zoom, und ein Ultra-Wide-Objektiv mit einem 155°-Sichtfeld wie man es von Action-Cams kennt, während das "Macro Pro Lens Set" (€ 99,99 bei Amazon) mit einem Macro-Objektiv mit 14-facher Vergrößerung, einem Macro-Objektiv mit 21-facher Vergrößerung und einem Macro-Objektiv mit 100-facher Vergrößerung daher kommt.

Alle neuen Objektive sind bereits mit dem ebenfalls neuen und im Lieferumfang jedes Sets enthaltenen OlloClip Connect-System kompatibel, welches einen leichteren Wechsel der Objektive ermöglicht. Dieses verfügt zudem über einen flexiblen Rahmen, der es fortan auch möglich macht, die OlloClip-Objektive auch auf Geräten mit einem Displayschutz von bis zu einem halben Millimeter zu verwenden. Ebenfalls im Lieferumfang enthalten ist das "Wearable Pendant Stand", in dem man die Linsen jederzeit geschützt bei sich tragen kann und welches sich auch in einen Ständer/Stativ für das iPhone umwandeln lässt.
Die neuen OlloClip Objektiv-Sets können ab sofort über die folgenden Links bei Amazon bestellt werden:
- Core Lens Set (€ 119,99 bei Amazon)
- Active Lens Set (€ 82,95 bei Amazon)
- Macro Pro Lens Set (€ 99,99 bei Amazon)
iTunes Film-Adventskalender: Heute "Tatsächlich... Liebe" für nur € 3,99 in HD
Apple versüßt allen Filmfans den diesjährigen Dezember mit einer besonderen Aktion im deutschen iTunes Store. In Form eines "Adventskalenders" wird dabei bis zum 24. Dezember jeden Tag ein neuer Film im iTunes Store für 24 Stunden auf lediglich noch € 3,99 im Preis gesenkt. Hierfür erhält man dann die Kaufversion des Titels in HD-Qualität. Am heutigen Tag der Aktion handelt es sich dabei um die Weihnachts-Liebes-Komödie Tatsächlich... Liebe (€ 3,99 im iTunes Store). Selbst wenn man aktuell keine Zeit hat, sich den Streifen zu Gemüte zu führen, kann ein Zuschlagen bei diesem Preis nicht schaden. Da es sich um die Kaufversion handelt, kann man den Film nach dem Kauf schauen wann man will und ihn auch jederzeit aus iCloud erneut kostenlos herunterladen. Viel Spaß!
[AUKEY-Adventskalender] Heute: AUKEY Bluetooth Outdoor-Lautsprecher
Es ist Vorweihnachtszeit, die Zeit der Plätzchen, der Weihnachtsfeiern, der Weihnachtsmärkte und der Adventskalender. Und einen solchen biete ich in diesem Jahr auch gemeinsam mit dem bekannten Gadget-Hersteller Aukey an. Dabei gibt es jeden Tag ein ausgewähltes Produkt aus dem Portfolio des Anbieters bei Amazon per Rabattcode zu einem günstigeren Preis. Das heutige Angebot ist dabei den AUKEY Bluetooth Outdoor-Lautsprecher (regulär € 29,99 bei Amazon). Der Lautsprecher ist mit seiner IP64-Zertifizierung wasserfest und staubdicht und eignet sich so perfekt für den Außeneinsatz. Das Klangbild ist sehr ausgewogen mit satten Bässen, Mitten und Höhen. Der integrierte Akku hat eine Kapazität von 2.600 mAh und liefert mit einer Ladung je nach Betriebsmodus bis zu 16 Stunden Musikwiedergabe.

Um den Rabatt in Höhe von € 7,- in Anspruch zu nehmen, legt man den AUKEY Bluetooth Outdoor-Lautsprecher in den Warenkorb und begibt sich zur Kasse, wo man vor dem Bezahlen den Amazon-Gutscheincode FPUSB7GF eingibt. Dieser ist nur heute, am 22. Dezember 2016 gültig und reduziert den Preis auf € 22,99.

