Apple experimentiert offenbar mit multifunktionalen Armbändern für die Apple Watch
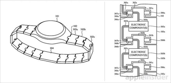
Bereits vor einiger Zeit wurde spekuliert, dass Apple künftig auch das Armband seiner Apple Watch dazu nutzen könnte, um verschiedene Funktionen und Sensoren aus dem eigentlichen Gehäuse auszulagern und direkt am Handgelenk zu platzieren. Neue Patente stützen nun die Spekulationen um dieses Bestreben. So beschreibt Apple in einem der aktuell veröffentlichten Patente (via AppleInsider) "Modular functional band links for wearable devices", über die sich verschiedene Dinge, wie beispielsweise der Akku, Sensoren, Lautsprecher, Speicher, eine SIM-Karte oder Solarzellen in das Armband der Apple Watch verschieben ließen.

Unbedingt auf ein dünneres Gehäuse würde ich hieraus resultierend aber nicht hoffen wollen. Über einen entsprechenden (bereits vorhandenen) Anschluss in den Scharnieren am Übergang vom Gehäuse zum Armand ließe sich auf diese Weise vielmehr eine Erweiterung der Kapazitäten des Grundmodells realisieren und ganz nebenbei auch noch ein neuer Zubehör-Markt für die Apple Watch aufbauen. Zu bedenken gilt es allerdings, dass Apple immer wieder jede Menge Patentanträge einreicht, von denen nur ein Bruchteil auch letzten Endes in einem Produkt mündet. Dass das mutlifunktionale Armband für die Apple Watch also tatsächlich irgendwann Realität wird, ist alles andere als gesichert.
Kommentare
Ansicht der Kommentare: Linear | Verschachtelt
Theoderkaffee am :
Leon am :
Ulf am :
Daniel am :
Vielleicht kann man dann zum Sport/Fitness alles andere zuhause lassen, legt das Armband mit extra Akku und SIM Karte ein und ist dennoch immer erreichbar.