Skip to content

Apple-Patent für "iTime" mit großer Ähnlichkeit zur gemunkelten iWatch

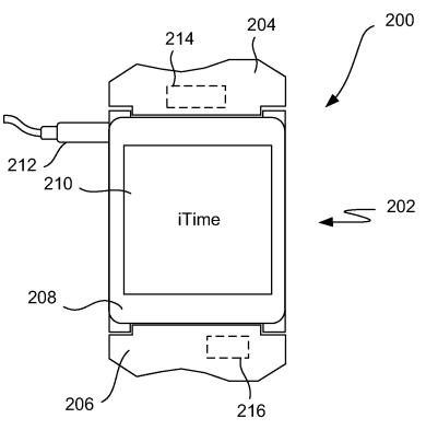
Die iWatch zählt nach wie vor zu den heißesten Gerüchten für den Apple Produkte-Herbst. Während man sich in Cupertino hierzu wie gewohnt ausschweigt, ist nun erstmals ein handfester Hinweis auf Apples Forschungen in Richtung einer Smartwatch aufgetaucht. Das U.S. Patent and Trademark Office hat heute nämlich Apple ein Patent zugesprochen, welches ein Armband mit verschiedenen Sensoren und Übertragungstechniken ausgestattet ist, die es ihm erlauben, mit anderem Geräten, wie beispielsweise einem iOS-Gerät oder einem Mac zu kommunizieren und das auf den Namen "iTime" hört. Dabei findet man auffällig viele Parallelen zu Funktionen und Merkmalen, die auch für die iWatch gehandelt werden. Neu ist hingegen, dass es sich in dem Patent wohl um eine Art Baukastensystem handelt, welches es gestattet, verschiedene Module in das Armband einzusetzen. Da das Patent bereits aus dem Jahre 2011 stammt, liegt die Vermutung nahe, dass Apple hier vor allem den damaligen iPod nano im Hinterkopf hatte. Die verschiedenen Sensoren und Kommunikationsmöglichkeiten gehen aber deutlich über ein bloßes Armband für dieses Gerät hinaus. Passend hierzu beschreibt Apple dann in dem Patent auch die Möglichkeit, auf dem eingeklinkten Modul eingehende Anrufe, Textnachrichten und andere Hinweise anzuzeigen. Auch verschiedene rudimentäre Fitness- und Gesundheitssensoren werden angesprochen. (via AppleInsider)

Während wir das in dem Patent beschriebene Armband in dieser Form wohl eher nicht zu Gesicht bekommen, zeigt es doch sehr anschaulich Apples Bestrebungen in diese Richtung, die dann vermutlich im Herbst in die iWatch münden werden. Ich bin gespannt!

Trackbacks

Keine Trackbacks

Kommentare

Ansicht der Kommentare: Linear | Verschachtelt

MYTHOSmovado am :

Niemals diesen Herbst! Vielleicht Herbst 2015, aber niemals in diesem Jahr.

Pasfield am :

Seh ich genauso.
Irgendein schlecht bezahlter Mitarbeiter hätte längst ein Bauteil mit seinem Smartphone abgelichtet u das Bild verkauft...

Elo am :

Ich fände eine smartwatch erst sinnvoll, wenn die technologie von biegsamen displays dazu ausgereift ist

XfrogX am :

Warum? Hast du schon eine biegbare Armband Uhr gesehen?
Außerdem sind Displays nun schon lange biegbar. Aber Akkus Anschlüsse Prozessoren usw sind es nicht und gibt's auch keine Entwicklung groß in diese Richtung.

Lg hat doch sogar ein Smartphone mit einem gewissen flex. heraus gebracht mehr wird es nicht geben so bald und das bisschen würde man am Handgelenk net mal merken.

Mac_Eifer am :

Sofern sie die iWatch präsentieren bevor sie in Massenproduktion geht, ist es durchaus vorstellbar, dass Apple es schafft auch Bauteile geheim zu halten. Zumindest könnte ich es mir so erklären.

JESUS am :

Das wäre traumhaft. Oder aber alle erwarten die iWatch und dann kommt sie doch noch nicht und alle sind enttäuscht...

Christian am :

Wahrscheinlich liegt sie neben dem Fernseher ;-)

Kommentar schreiben

Die angegebene E-Mail-Adresse wird nicht dargestellt, sondern nur für eventuelle Benachrichtigungen verwendet.
Umschließende Sterne heben ein Wort hervor (*wort*), per _wort_ kann ein Wort unterstrichen werden.
Formular-Optionen