Skip to content

Neues Patent: Steuerung von Apples VR-Headset via iRing?

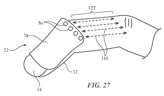
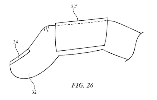
Inzwischen scheint es weniger eine Frage des Ob als mehr des Wann zu sein, wenn es um Apples gemunkeltes VR-Headset und die etwas später erwartete smarte Brille geht. Die Frage, die sich bei derlei Geräten immer stellt ist, welche Eingabeoptionen zur Steuerung zum Einsatz kommen sollen. Ein neues Patent von Apple könnte hier nun einen entscheidenden Hinweis geben. Wie die Kollegen von Patently Apple entdeckt haben, beschreibt Apple unter der Überschrift "Finger-Mounted Device With Sensors and Haptics" ein Zubehör, welches am Finger des Nutzers befestigt wird und von dem aus dann entsprechende Eingabesignale an das Headset gesendet werden. Apple erklärt, dass hiermit Computer aber auch "head-mounted display systems" gesteuert werden können, die im Zusammenhang mit "virtual reality content and/or augmented reality content" genutzt werden.

Spannenderweise wurde bereits im Jahr 2013 über einen sogenannten "iRing" spekuliert, der allerdings im Zusammenhang mit der Steuerung des damals gehandelten Apple-Fernsehers auftauchte. Soweit gehen, dass dies nun die Reinkarnation dieses iRing sein könnte, würde ich aber nicht. Offenbar denkt Apple allerdings darüber nach, nicht Handgesten und Armbewegungen direkt von den Sensoren im Headset auswerten zu lassen, sondern dies an ein zu tragendes Zubehör zu koppeln.

Nicht vergessen sollte man bei all dem natürlich, dass Apple Unmengen von Patenten einreicht und auch zugesprochen bekommt, die darin steckenden Technologien aber nur in den seltensten Fällen in einem tatsächlichen Produkt münden. Interessant ist es dennoch zu schauen, in welche Richtungen die Apple-Ingenieure so forschen.

Trackbacks

Keine Trackbacks

Kommentare

Ansicht der Kommentare: Linear | Verschachtelt

Noch keine Kommentare

Kommentar schreiben

Die angegebene E-Mail-Adresse wird nicht dargestellt, sondern nur für eventuelle Benachrichtigungen verwendet.
Umschließende Sterne heben ein Wort hervor (*wort*), per _wort_ kann ein Wort unterstrichen werden.
Formular-Optionen